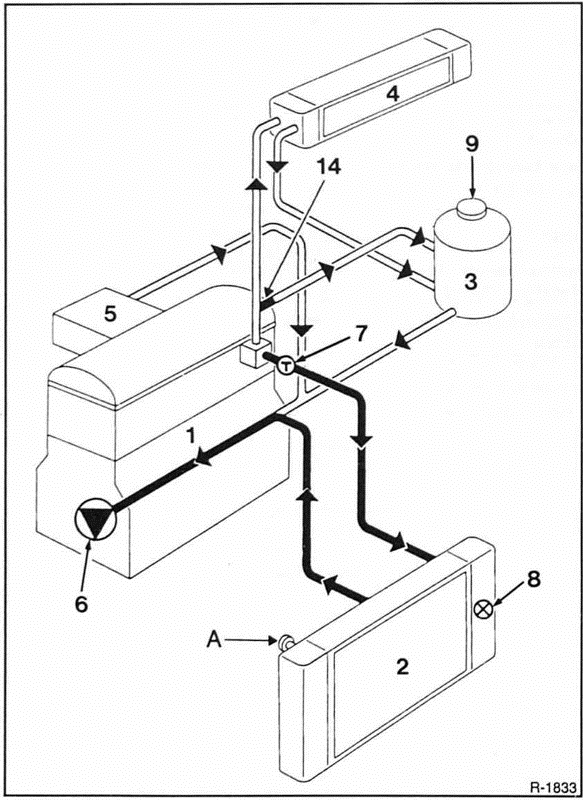
Kühlmittelkreislauf beim 1,2-1- (bis 3/96) und 1,4-l-motor

Warnung reifendruckverlust
Wenn das fahrzeug damit ausgestattet ist,
gibt dieses system bei druckverlust eines
oder mehrerer reifen eine warnung aus.
Funktionsprinzip
Jedes rad (mit ausnahme des reserverads)
ist mit einem in das ventil eingesetzten
sensor ausgestattet, der den reifendru ...
Rillenriemen für generator und lenkhilfepumpe
aus- und einbauen/spannen
Der rillenriemen treibt über die kurbelwelle den generator
und, falls vorhanden, die lenkhilfepumpe an. Im unterschied
zum gewöhnlichen keilriemen sind beim rillenriemen an der
innenseite mehrere rillenreihen vorhanden, die den schlupf
verringern. Achtung: ...
Copyright www.renclio.org | Renault Clio Betriebsanleitung und Reparaturanleitung